中海达定位公司获得发明专利
2018-05-09
日前,中海达旗下子公司广州中海达定位技术有限公司正式收到由中华人民共和国国家知识产权局寄来的一份发明专利证书,证书名称为“GNSS接受机拆装装置”,专利号“ZL 2014 1 0642475.0”,授权公告日为“2016年08月24日”。

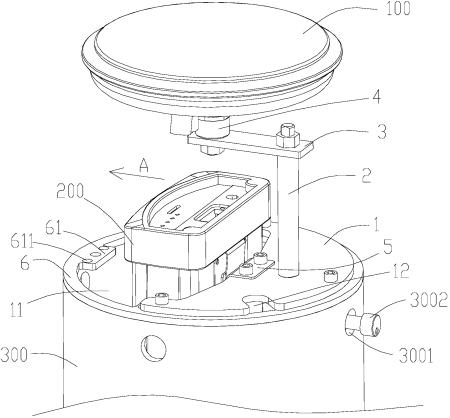
本发明涉及GNSS接收机拆装装置,其包括用于安装在观测墩顶部的支撑板以及用于固定GNSS接收机的挂架,支撑板的顶部向上延伸出一支撑架,所述支撑架的顶部往靠近所述观测墩的轴线方向延伸出一连接板,所述连接板的自由端通过一连接头与GNSS天线固定连接,所述连接头的中轴线与观测墩的中轴线重合;所述挂架以可拆卸连接的方式与支撑板固定连接;所述支撑板的一侧边缘与观测墩的内壁形成有一允许GNSS接收机进入的缺口,所述缺口位于连接头的下方,所述缺口的宽度大于GNSS接收机的宽度。装拆GNSS接收机时不会碰到GNSS天线,保证GNSS天线的安装精度以及测量精度。

此专利通过林国利、潘久辉、於永东等研发人员的共同努力研发,顺利通过一审二审,直到授权,可喜可贺。
相关推荐
助力新型基础测绘建设
掌握一手行业动态
中海达携最新技术成果及行业解决方案 集中亮相






















顶部